Als techneut vind ik dat soort dingen altijd interessant en dus ging ik graven. Heel ver kwam ik toen (nog) niet. Inmiddels lijken wat meer puzzelstukjes in elkaar te vallen…

Het ontwerp week te veel af van dat wat de Box derailleur zou worden, en Shimano’s proto’s zie je simpelweg nooit in het wild. Ga maar na; hoe vaak zijn er ooit nieuwe Shimano producten gespot vóór lancering? Bij SRAM gaat dat anders; zij testen wel vaker tussen het gewone volk. Zie de Eagle eTAP maar waar Nino Schurter zonder (inmiddels) enige verhulling mee rondrijdt. Dat SRAM al clutch-derailleurs heeft en dat die er significant anders uitzien, sluit in mijn optiek uit dat het een SRAM product betrof.
TRP? e*Thirteen?
Wat is de derailleur die anderhalf jaar geleden gespot werd, dan wel? Mijn gok? TRP. Deels ingegeven doordat de bewuste rijdster – Molly Cameron – door TRP gesponsord wordt. Maar vooral omdat Aaron Gwin vorige week in Fort William en ook dit weekend in Leogang bij de Wereld Beker Downhill gespot is met een mysterieuze (en ver doorontwikkelde) derailleur, waarvan het onderste scharnierpunt (b-scharnier) in basis sterk lijkt op die ‘cross derailleur’ van enige tijd terug. En dat, toen hij eerder dit jaar op Instagram ook al zijn nieuwe helm introduceerde, terwijl er en passant onder aan zijn stuur een shifter te zien was die duidelijk afweek van alles dat we tot dus ver op de markt kennen. Een – zover uit te maken – met één hendel. Ook Gwin wordt gesponsord door TRP. Goed; e*Thirteen sponsort hem ook en zij hebben cassettes en cranks in het programma. Oók een kandidaat, zou je zeggen.


Toch zet ik in op TRP én ik verwacht dat de shifter ons toch bekend zal overkomen. Vorig jaar moest Box Components hun shifter concept met één hendel vaarwel zeggen. De reden: een patent geschil met TRP. De bedenker van de shifter, John Calendrille, heeft in zijn pogingen zijn ontwerpen te verkopen ook enige tijd met TRP, maar bijvoorbeeld ook Tien Hsin Industries (TH Industries; het bedrijf achter FSA) om tafel gezeten. Net als TH heeft TRP ook een patent waarin het shifter concept van Calendrille in nuances wordt uitgelegd.



TRP/Tektro Patenten
De laatste hints die mij overtuigen dat het om een TRP product gaat, zijn de patenttekeningen van patent US2016375959A1. Daarin zien we exact getekend wat we bij Aaron Gwin aan z’n fiets zien hangen. Tenminste, als we naar het bewuste scharnierpunt en de parallellogram kijken. TRP’s patenttekeningen omvatten namelijk een derailleur die duidelijk elektrisch is aangestuurd. Het is normaal dat er in patenten diverse uitvoeringsvarianten van een concept worden uitgelegd. Dat terzijde. Nog méér interessant én centraal in dit patent is de uitvoering van de clutch…


In het kort komt het hier op neer: Wat je wilt is dat de beweging van de kooi geremd wordt om het dansen van de ketting tegen te gaan (en dus de kans dat de ketting van je kettingblad op de crank afloopt verminderd). Dit wordt bij elke derailleur op de markt gedaan door een remmend element in het b-scharnier toe te passen. Die remmende werking heb je maar in één richting nodig; in de andere richting wil je dat een veer de kooi gewoon goed op kan spannen.
TRP lost dit op door vrijlooppallen rond de rem te zetten. De rem bestaat uit een cilindrisch deel in het midden van het scharnier, met daar om heen ringen met tanden. Tussen de ringen en het centrale deel zit wrijving; de ringen kunnen draaien, maar dat gaat dus met een grote weerstand.
De pallen zitten aan de kooi. In de draairichting naar achteren om de ketting te spannen, lopen de pallen vrij en kan de veer zijn werk doen. In de andere richting, grijpen de pallen in de ringen en de kooi wordt zodoende tegen gehouden door de rem. Door nu meerdere vertande ringen en pallen uit fase toe te passen, is de vrije hoek waarover de kooi kan bewegen zónder tegenwerking van de rem sterk verkleind. Aangezien het geheel vrij compact is, zal er niet of nauwelijks geluid merkbaar zijn. Of het voldoende werkt, zal moeten blijken… Het is in elk geval een interessante work around bestaande gepatenteerde technieken.
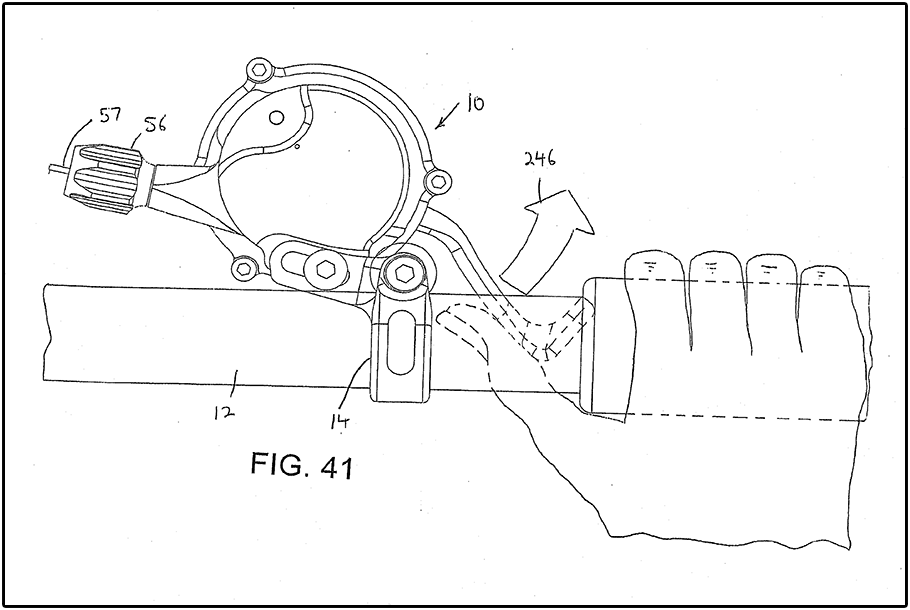
De clutch lijkt aan en uit te schakelen via een hendel die we zowel op de foto’s zien als technische mogelijk lijkt als je naar de patenttekeningen kijkt.

Wat niet in dit patent staat of in andere (nu vindbare) patenten van TRP/Tektro te vinden is, is de functie van de extra hendel die je (hierboven omcirkeld) ziet net achter de montagebout van de derailleur. Wat deze hendel doet is dan ook nog niet helemaal duidelijk, maar als we dan toch aan het speculeren zijn: misschien dat de derailleur met het omhalen van deze hendel weggedraaid kan worden om een wielwissel te vereenvoudigen. Dikke kans namelijk dat het montagepunt niet als een actief scharnier gebruikt wordt – zoals bij veel andere derailleurs wél het geval is – om zodoende de stabiliteit van de kettingloop verder te vergroten.
De shifter, tot slot. Het shifter-patent dat TRP heeft (WO2015057218A1) is geheel herkenbaar qua bediening. Het is exact zoals Box hem eerder op de markt had:


TRP/Tektro: Kennis, kunde en budget
TRP/Tektro (de merknaam Tektro is je ongetwijfeld bekend; dat is dezelfde firma) is geen kleine jongen. Ze hebben ook alle technieken in huis om dit soort producten te maken. Ze maken ook veel zaken voor anderen. Niet op de laatste plaats smeeddelen voor producten waar je het niet eens van zou verwachten (Cannondale’s Lefty poten…). Daarnaast zijn ze enkele jaren terug ook al bezig geweest met de integratie van elektrische knoppen in hun remgrepen voor hydraulische schijfremmen voor de racefiets. Voordat Shimano en SRAM deze zelf maakten, zagen zij die combinatie al als een logische. Hun poging strandde echter ook vanwege inbreuk op IP.
Ze hebben in elk geval de kennis, de tooling maar als flinke fabrikant óók het budget om complexe delen als derailleurs en shifters te ontwikkelen en in serieproductie te krijgen zonder dat er meteen astronomische prijs voor de consument tegen over staan.
Opvallend genoeg zijn er onder de naam van Tektro nog 6 (Taiwanese) patentaanvragen te vinden van elektrische derailleurs die allemaal in de voorbije 4 jaar zijn ingediend. Dit lijken vooralsnog racefiets derailleurs met wat meer ronde vormen. Dat terzijde; de claims gaan vooral over de methode van het aansturen en detecteren van zo’n (draadloze?) derailleur. Oh, en ze hebben onder meer ook een patentaanvraag lopen voor een achternaaf met vrijlooplager (dus een zonder pallen). Er broeit dus van alles daar in Taiwan.
Meer spelers = meer interessante markt
De ‘oplossing’ om rond patenten van anderen te komen met betrekking tot een clutch in een derailleur is op z’n minst gezegd interessant; met dank aan Calendrille. Verder lijkt de derailleur weinig écht innovatiefs te bieden, maar als mijn aannames kloppen en we via TRP alsnog de unieke één-hendel shifter van Calendrille op de markt krijgen, wordt het niettemin wéér een stukje interessanter op de markt. Hoewel Box’ uitvoering nog niet optimaal was, was ik wél gecharmeerd en overtuigd van het concept.
Met de EuroBike op de radar binnen 1,5 maand, houden we onze ogen én oren goed open. Kunnen we inderdaad TRP bij schrijven als groepset-aanbieder, of zouden ze dat misschien toch in samenwerking doen met e*Thirteen? Ook zo’n combinatie zou namelijk best logisch zijn. Hoe dan ook: wordt dus ongetwijfeld binnenkort vervolgd!










