De Headshok is voor Cannondale wat de iPhone is voor Apple. Er zijn weinig merken in de fietsindustrie die zo’n uitgesproken ontwerp of kenmerk hebben dat het hun hele karakter bepaalt.
De Headshok definieert het merk Cannondale. Meer nog dat het ‘Made in the USA’ label en de vlakgeslepen lasnaden op hun aluminium frames van vóór de tijd dat carbon de norm werd. Was de Headshok Fatty Cannondale's originele iPhone, de Lefty is de iPhone X.
Sommigen vinden die eenzijdige voorvork fantastisch. Anderen vinden het he-le-maal niets. Als er één ding is waar we het over eens kunnen zijn, dan is het dat de looks nogal polariseren. En toch; van dié mensen die eerdere HeadShok Fatty en Lefty niets vonden, maar het tóch probeerden, zijn de meesten alsnog overtuigd van het concept. Tijd om er eens goed in te duiken.
88 naalden
De Cannondale Lefty en elke Fatty Headshok die er aan voorafging zijn niet slechts ontwerpen om simpelweg ‘een andere uitstraling’ te creëren. Toen Cannondale in 1992 hun eerste geveerde voorvork introduceerde, deden ze dat in een tijd waarbij velen niet eens overtuigd waren dat vering überhaupt ‘iets zou zijn’. Met goede redenen, ook. De techniek van geveerde voorvorken was vrij eenvoudig - het waren immers fietsen; ‘hoe moeilijk kan, of móet het zijn’… De spaarzame millimeters veerweg werden evenzo spaarzaam aangesproken doordat de techniek simpelweg uh… simpel was.
Er werd bij de ontwerpen gretig geleend bij de motorcross. Als verend elementen werden lucht, spiraalveren, elastomeren, of een combinatie van deze principes toegepast. Demping bestond vaakt uit een eenvoudig open oliebad waarvan de instelling zo fijngevoelig was als een sloopkogel. Veel elastomeer-gebaseerde systemen maakten gebruik van het traag uitveren van het elastomeer om als 'rebound demping' te dienen.
De layout bestond zoals bij crossmotoren vrijwel altijd uit een set van onder- en bovenpoten die telescopisch in elkaar schoven. Daarvoor worden tot op de dag van vandaag glijlagers toegepast. Deze vragen zeer nauwkeurige productietoleranties om redelijk licht te lopen en dat is een flinke uitdaging. De eerste vorken hadden dus meestal ofwel veel wrijving, of speling. Daar komt bij dat obstakels tijdens het rijden de voorvork naar achteren willen buigen. Dat geeft nóg meer wrijving in de glijlagers en heeft dus invloed op de fijngevoeligheid van zo'n voorvork. Een ander groot nadeel van dit concept is dat de constructie lastig torsiestijf te maken is. De beide poten zijn slechts via een dunne brug en de naaf met elkaar verbonden en kunnen individueel ook draaien. Torsiestijfheid is wel ‘fijn’; je wilt immers dat input vanaf het stuur direct een verdraaiing van het voorwiel betekent… Om die reden zijn steekassen in de laatste jaren zo’n stap voorwaarts gebleken.

Cannondale week met de Headshok op twee cruciale punten af van dit principe. Zij plaatsten het verende gedeelde boven de voorvork in de balhoofdbuis. Daardoor was de voorvork één geheel en was er maar één plek waar de torsiestijfheid een ontwerpuitdaging was: de twee in elkaar bewegende buizen ín de balhoofdbuis. Deze moesten in langsrichting dus bewegen maar onderling niet kunnen draaien. Cannondale plaatste rondom 4 sets met 22 naaldlagers tussen die twee buizen. Daardoor was de torsiestijfheid gewaarborgd én, samen met de vorkpoten uit één stuk, zelfs ongekend hoog. De naaldlagers hadden nog één groot voordeel: ook onder de zwaarste rijbelasting bleven de twee telescopische delen zéér soepel in elkaar bewegen. Ongekende fijngevoeligheid dus, ook onder de zwaarste condities.

Niet de eerste
Hoewel Cannondale het principe van vering in de balhoofdbuis met de Headshok bij het grote publiek introduceerde, waren ze beslist niet de eerste met dit concept. De vouwfietsen van Alex Moulton hadden dit al in de jaren ’60, om die stuiterige fietsjes met kleine wielen nog wat rijcomfort te geven. Maar zelfs Moulton was niet de eerste. Het concept is bijna zo oud als de fiets zelf. Er zijn patenten te vinden van eind 1800 die vering tussen de voorvork en het frame beschrijven.
Action-Tec
Wie in de jaren ’90 al op de mountainbike reed, herinnert zich misschien Action-Tec’s ProShock. Een voorvork die méér dan enige gelijkenis vertoont met Cannondale’s Headshok. Door de loop van de geschiedenis zullen velen er zo naar kijken… De werkelijkheid is precies andersom. Action-Tec’s Russ Robinson was het namelijk die het concept - zoals onder meer Moulton toepaste - verder verfijnde. Om méér souplesse en stijfheid bij grotere veerwegen te krijgen, maakte hij groeven in de lengte van beide buizen, en legde daar kogels in die door de groeven rolden. De kogels werden onderling met een huls verbonden. Dit cruciale verschil patenteerde (de aanvraag dateert van 1990) hij voordat hij dit in ’91 presenteerde. Cannondale kwam in ’92 met hun variant van een soort gelijk concept, maar dan met de rechthoekige stuurbuis én naaldlagers.
...het was in elk geval een weinig glamoureuze bedoening...
Er gaan verschillende verhalen over hoe Cannondale aan dit concept kwam en ook hoe het zich opstelde ten opzichte van Robinson en zijn patent. De details zijn schaars, maar het was in elk geval een weinig glamoureuze bedoening, zoveel is duidelijk. Er liep tot 2003 een rechtszaak tussen Robinson en Cannondale over door Cannondale aan Robinson te betalen vergoeding. De afloop van die rechtszaak is wat mistig. In elk geval trok Robinson aan het kortste eind. Enerzijds omdat Cannondale, mede dankzij een uitstap richting crossmotoren en quads, in 2003 failliet ging. Daarnaast de wetmatigheid van David versus Goliath; voor een kleine partij als Action-Tec is procederen gewoon heel erg duur.
![]() |
Terwijl Cannondale langzaam de massa bereikte met hun voorvork, bleef ook Action-Tec kleinschalig de niche bedienen. Tot ver in de jaren '00 was de Pro-Shock bij framebouwers zoals Doug Curtiss (Curtlo) en Chris Kelly erg in trek, simpelweg omdat Robinson de vorkbuis los verkoopt en framebouwers zelf er een voorvork mee kunnen bouwen. Ook grotere niche-spelers hadden interesse: Fat Chance overwoog het systeem voor een seriemodel.
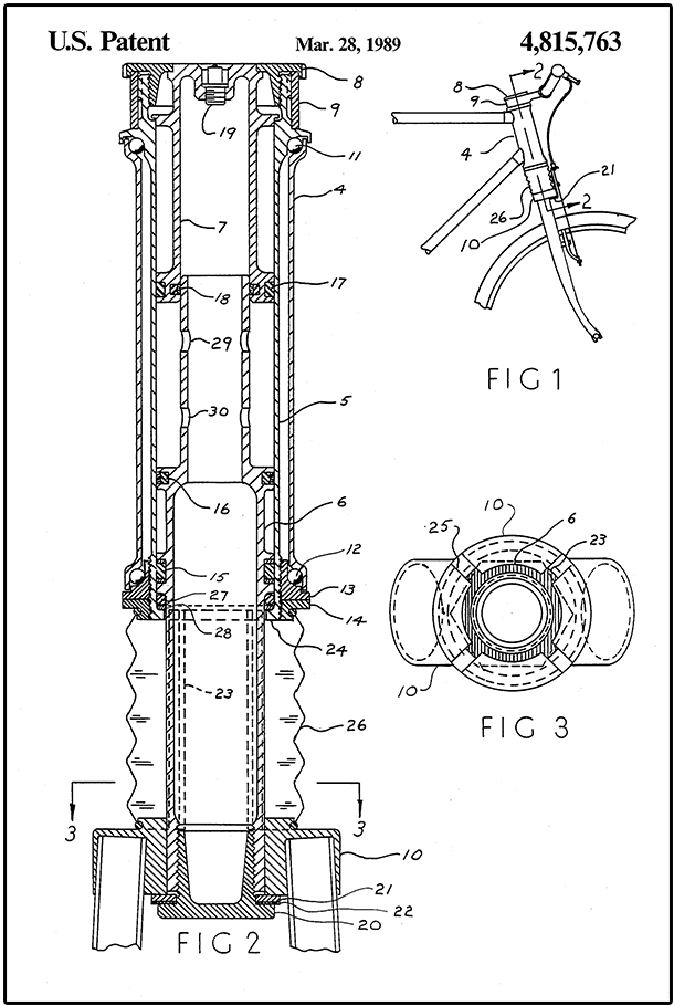
Hieronder links een exploded view uit het in september 1994 verleende patent US5350185A van Russel Robinson. De aanvraag voor dit patent dateert van 9 maart 1990. Rechts een aantal figuren uit Cannondale's patent US5320374. Zij kregen deze toegewezen in juni 1994. De aanvraag werd ingediend op 11 juni 1991: 15 maanden ná Robison’s patentaanvraag.
Fundamenteel wijken de relevante patenten in slechts in één detail (in de eerste en daardoor meest relevante claim van de patentaanvraag) van elkaar af. Waar Robinson een dunne bus beschrijft die de lagers (van ongedefinieerde vorm) onderling verbindt, beschrijft Cannondale expliciet naaldlagers zonder daarbij expliciet te melden of deze onderling verbonden zijn.
Ere wie ere toekomt: Los van hoe het precies ging, het moge duidelijk zijn dat Robison beslist credits verdient voor de cruciale toevoeging van kogellagers aan het voorvorkconcept. Het concept is echter best complex. Het vraagt een hoge mate van denkwerk en nauwkeurigheid om zo'n concept goed werkend - en vooral zonder speling op de lagering - in massaproductie te krijgen. Een flinke investering dus, die je alleen terugverdient bij een commercieel succes. Cannondale had echter niet alleen het budget, maar ook de ballen om het risico te nemen. Die credits mogen zij zichzelf dus zeker geven, zeker in een tijd waarin een elastomeervork al als high-tech werd gezien. Cannondale zette met de Headshok flink dóór.
Van Headshok Fatty naar Lefty
En dat bleven ze doen. Bij de introductie – op de Delta V full suspensions – heette de voorvork ‘Delta V front suspension’ en had 50 millimeter veerweg. De naam ‘Headshok’ werd pas door Cannondale in 1994 geïntroduceerd en er kwamen meerdere varianten op verschillende prijsniveau’s. In 1995 doen de inmiddels kenmerkende rechte vorkpoten hun intrede, maar het duurt nog tot 1996 wanneer de naam ‘Fatty’ in de catalogus verschijnt gecombineerd het iconische Brad-logo.
Een uitleg over de ontstaansgeschiedenis van dit logo vind je hier.

In 1996 introduceerde men ook de Moto downhillvork. Een dikke upside-down voor met maar liefst 114 mm veerweg (in 1997 meteen al vergroot naar 120 mm). Ook deze werd door Cannondale onder de titel ‘Headshok’ neergezet terwijl deze vork dus niet veerde ‘in’ de balhoofdbuis. De reden was dat zoveel veerweg tussen de vorkpoten en balhoofdsbuis de voorzijde van het frame te ver omhoog bracht. Een upside-down voorvork met dubbele kroonplaten was bij dergelijke veerwegen ook stijver. Het was dé voorvork waar Myles Rockwell en Missy Giove podiumplekken mee behaalden bij talloze downhillwedstrijden.
Maar perfect was hij niet. Hij had namelijk géén naaldlagers, maar gewone glijlagers. Met het verstrijken van de tijd bleek zelfs 120 mm veerweg ook wat weinig, dus kwam in 1998 de verlossing in de vorm van de Moto DH voorvork. Een wat meer traditioneel uitziende telescoopvork met 150 mm veerweg, maar in plaats van glijlagers nu 88 naaldlagers in elke poot. Kwam nog bij: de demping was computergestuurd! Te koop? Nee. De afgeleide Moto FR met 100 mm veerweg was dat wél. Het resultaat was een voorvork die tot op de dag van vandaag (15 jaar nadat ‘ie uit productie ging) nog steeds geliefd is bij tandemrijders, vanwege de enorme torsiestijfheid.
Nota bene: Cannondale introduceerde deze voorvork op de Super V Freeride. Zij waren het dus die de term vanuit de snowboard scene introduceerden in de mountainbike scene…

Tot dan toe was 60-70 mm veerweg voor cross country al heel wat. Richting het einde van de jaren ’90 nam de veerweg van voorvorken toe. De Fatty voorvork kregen in ’99 80 mm veerweg. Maar de trend naar méér veerweg was, ook bij cross country, nog niet ten einde. Tot dan toe gebruikte Cannondale al sterk naar beneden wijzende stuurpennen om het stuur laag te houden: de Headshok Fatty's bouwden namelijk nogal hoog. Verlengen tot 100 mm veerweg vereiste een nóg langere balhoofdbuis, wat de voorkant van het frame veel te hoog zou maken. De oplossing moest daarom ‘buiten’ het frame liggen, zoals bij de Moto FR. Alleen die woog met 2.600 gram nogal… veel.
De zaag er in!
Het idee van een 'halve' voorvork bestond bij Cannondale al halfweg jaren '90, maar zo'n voorvork vroeg een schijfrem en... die waren er (nog) niet. Eind jaren '90 kwamen die langzaam op het toneel. Door een aantal Cannondale-techneuten werd de stijve Moto FR in tweeën gezaagd, om te kijken hoe haalbaar het idee was. Na wat beunwerk om een voorwiel te kunnen monteren bleek dit 'proof of concept' verrassend goed rijdbaar. Welke poot er overbleef? De linker! Waarom? Aan die kant zit de schijfrem. Dat idee kreeg intern flink wat aandacht en in 1999 werd de eerste Lefty gelanceerd via het wedstrijdteam. Met een design dat nóg polariserender was dan de Headshok, verbaasden ze vriend en vijand. “Leuk concept. Wordt nooit wat!” Velen dachten dat het een ééndagsvlieg zou zijn. Niets bleek minder waar…
De in 2000 verkrijgbare Lefty bleek stijver én - met 1.700 gram - lichter dan sommige van zijn concurrenten en Cannondale zag veel potentie voor optimalisatie. Zo kwam een jaar later al een versie met een carbon bovenpoot en een titanium spindel voor de voornaaf. Ook experimenteerde men er al flink op los met elektronica. De Lefty ELO had een elektrisch aangestuurde lockout!

In 2002 verdween de Moto FR, terwijl de Lefty-craze zich uitbreide: de eenzijdige voorvork werd hét uithangbord van het merk en het aantal varianten nam toe. De Fatty bleef echter in het programma en werd ook stelselmatig geupdate. Met name aan het gewicht werd bij beide type vorken flink gesleuteld. Zo woog in 2007 de Fatty Ultra DLR met 80 mm slechts 1.290 gram. De lichtste Lefty dook daar nog onderdoor: de Lefty Speed Carbon SL 110 mm woog 1.240 gram!
Ook op fietsen met meer veerweg werd de Lefty gretig toegepast. Op de Jekyll en later de Prophet full suspensions groeide de veerweg naar 140 mm veerweg en kreeg de voorvork de extra titel ‘Max’ mee, terwijl de XC fietsen vanaf 2005 standaard vooraan al 110 mm veerweg kregen.
Techniek van Manitou, RockShox, Fox, Magura
In de loop van de jaren heeft Cannondale ook met diverse veringspecialisten samengewerkt. Je zou haast kunnen zeggen; met wie niet? Zo hadden ze Fox dempertechnologie in de vorm van onder meer de TerraLogic. Bij RockShox kwam onder meer het SoloAir concept vandaan. Manitou’s befaamde SPV dempingssysteem vond ook zijn weg naar de Lefty. Daarbij werden zowel luchtveren (Lefty Speed) als spiraalveren (Lefty Max) gebruikt. Voor de Fatty modellen werd ook enige tijd samengewerkt met Magura.

Simon
Na eerdere experimenten met elektronica introduceerde Cannondale in 2009 de Simon als conceptstudie. Dit was een Lefty voorzien van een elektrisch gestuurde klep die zowel de rebound- als compressiedemping voor zijn rekening nam. De grootte van de opening in de klep werd continu geregeld door een algoritme dat gevoed werd door positie-, kracht- en acceleratiesensoren in de voorvork. De motor die de klep regelde, was dusdanig snel dat de demper in slechts 6 milliseconde van volledig open tot volledig dicht kon schakelen.
De elektronische regeling maakte dat het mechanische binnenwerk van de demper simpeler kon worden, en dus mechanisch robuuster. Daar stond wel tegenover dat je een flinke batterij nodig had om het systeem te laten werken en – naast dat die nogal wat woog – gaat ie een keer leeg, waarna je demper dus niet goed meer werkt. Het systeem kreeg veel aandacht in de media en na 5 jaren ontwikkelen zou het systeem dermate verfijnd werken dat het een kans van slagen had in de markt. Zover kwam het alleen niet, want Simon kwam nooit voorbij het conceptstadium.

Lefty 2.0 Hybrid
2013 markeerde de grootste verandering in de Lefty: de Hybrid. Tot dan toe was de binnenbuis over een grote lengte vierkant uitgevoerd. Reguliere afdichtingsringen werkten hier niet en dus werd een stofhoes gebruikt. Een nieuwe binnenpoot werd ontworpen waarbij het onderste deel (32 mm) rond was en de naaldlagers wat hoger in de (tot 44 mm vergrootte) bovenpoot gepositioneerd waren. Daardoor werden een afdichting en stofring zoals bij een ‘normale’ voorvork mogelijk... Maar er zat ineens óók een glijlager onderin! Door het upside-down principe van de Lefty blijft dit alles echter beter gesmeerd, omdat de olie dus ‘op’ de afdichting en bij de glijlager blijft liggen en daardoor de vork een stuk minder onderhoudsgevoelig.
SuperMax
Met dit concept werd ook een grote broer ontwikkeld: de SuperMax 29er die grotere diameters (46 mm / 36 mm) had en zelfs bij 160 mm veerweg met 1.850 gram nog steeds erg licht was. Was, ja. Want met de introductie van de nieuwe Jekyll en Trigger begin dit jaar verdween de SuperMax helaas. In dit veel-veerweg-segment wil blijkbaar iedereen een Fox 36 of RockShox Pike, dus monteert ook Cannondale die nu. De SuperMax leeft enkel nog door in de vorm van de Olaf, Cannondale’s fatbike-specifieke Lefty.
Voor(oor)delen
Cannondale beleefde in de voorbije jaren roerige tijden. De uitstap naar de motorcross kostte ze de kop. Een doorstart betekende langzaam ook het verdwijnen van het ‘Made in the USA’ label; iets dat vele Cannondale-fans maar niks vonden. De opmars van carbon volgde Cannondale op met unieke racefietsen, maar qua mountainbikes leken ze lange tijd het gevoel met de markt wat kwijt te zijn. Zo liet een 29er erg lang op zich wachten, terwijl de Lefty echter al wél gretig aftrek bij de 29er-rijders. Met een simpele spacer kon je namelijk de veerweg verkorten: zo kon je een 29er wiel plaatsten zonder dat deze de kroon raakte bij gebruik van de volledige veerweg.
In een tijd waarbij er flink gesneden werd in de kosten van het bedrijf had het ons niet verbaast als Cannondale de Headshok half jaren ’00 had geschrapt. Het is simpelweg een erg complex product dat continue moet worden doorontwikkeld en daar door duur is. Dat gebeurde echter niet en dat heeft in die magere jaren ons inziens het merk mede overeind gehouden.
De 2013 ‘Over Mountain’ modellen (Jekyll en Trigger) met de SuperMax voorvorken leken geen aansluiting te vinden bij de enduro-garde. Met de erg lichte Flash 29er, de daaropvolgende F-Si hardtail en de Scalpel Si zagen we Cannondale min of meer terugkomen in oude doen. Het merk is echter wat afgeslankt. De Habit is meer dertien-in-een-dozijn en alleen de Lefty maakt het nog tot een enigszins uitgesproken product. Momenteel is de Fatty alleen nog op enkele (stads) e-bikes terug te vinden. De Lefty is er nog in een carbon en aluminium variant en zien we hem terug op de (Cannondale-eque aparte) Slate gravelbike. Het zou ons echter verbazen als de Lefty Olaf fatbike voorvork - een afgeleide van de SuperMax - nog een lang leven beschoren is.
Voordelen van de Headshok:
- door naaldlagers en minder seals (want slechts één telescopische poot) beduidend fijngevoeliger;
- door het upside-down ontwerp is er minder afgeveerde massa wat ook bijdraagt aan een fijngevoeliger systeem;
- lichter bij dezelfde stijfheid of; stijver bij hetzelfde gewicht;
- bij de Lefty kun je je voorband wisselen zonder het voorwiel te demonteren.
Nadelen voor het Headshok concept:
- de naaldlagers zakken met verloop van tijd naar beneden en beperken dan de veerweg. Gelukkig kun je de huidige Lefty’s snel en zonder te demonteren ‘resetten’ ;
- niet super compatible: de eerste modellen waren Cannondale-only. Met adapters zijn Lefty’s tegenwoordig redelijk pas te maken in andere frames, maar niet elke frame is geschikt voor de belastingen vanuit een dubbele kroon;
- loshalen voorwiel; de Lefty heeft geen quick-release en je moet de remklauw afnemen/wegklappen. Lastig met fietsdragers of een snelle wielwissel bij lekrijden;
- qua onderhoud meer afhankelijk van Headshok-specialisten.
Tot op de dag van vandaag weet Cannondale zich met de Headshok te onderscheiden. Ze zijn de enige fietsfabrikant die een eigen geveerde voorvork maken (Lauf even niet meegerekend). Geen product is echter perfect; diverse modellen werden geplaagd door kinderziektes, maar principieel slecht waren de vorken nooit. Het basisconcept uit ’92 is nauwelijks veranderd en dat betekent dus dat het figuurlijk én letterlijk een sterk ontwerp is. Sterk genoeg om de tand des tijds te doorstaan. Het betekent ook dat je zonder al te veel moeite je originele Delta V2000 van 1992 nog steeds in tip-top conditie kunt houden!
Feit blijft dat de Lefty blijft polariseren: los van rationele, meetbare waarden zoals lage wrijving, stijfheid en gewicht kan simpelweg niet iedereen wennen aan de looks. Vooroordelen zijn er echter om weggenomen te worden en dus komen we binnenkort terug op de eigenzinnige voorvork van Cannondale met review van een Lefty in een Scalpel Si.

Tekst: Jeroen van den Brand












Mooi verhaal ik heb ervaring met 6 verschillende vorken van cannondale
De 2.0 hybrid is in mijn beleving een slecht product na 3x repareren omdat de vering blokkeert zit hij nu weer vast.
Dit terwijl het vorige type lefty al 8 jaar goed en soepel zijn werk doet.